English
子公司导航
天富娱乐登录真空玻璃
智能装备制造
擎天系列
金钢系列
雷霆系列
风行系列
智慧工厂
节能材料
天富娱乐登录V玻
社会责任
可持续发展
关顾员工
愿景目标
服务支持
客服宣言
售前服务
售后服务
我有疑问
常见问题
关于我们
企业概况
天富娱乐登录荣誉
发展历程
科技研发
联系我们
新闻中心
公司动态
成功故事
媒体报道
行业新闻
信息公示
人力招聘
人才理念
社会招聘
校园招聘
新媒体
图片
视频
展会
快速帮助入口
金钢系列
雷霆系列
风行系列
智慧工厂
公司动态
成功故事
媒体报道
行业新闻
首页
智能装备制造
金钢系列
雷霆系列
风行系列
智慧工厂
节能材料
天富娱乐登录V玻
社会责任
可持续发展
关顾员工
愿景目标
服务支持
客服宣言
售前服务
售后服务
我有疑问
常见问题
关于我们
企业概况
天富娱乐登录荣誉
发展历程
科技研发
联系我们
新闻中心
公司动态
成功故事
媒体报道
行业新闻
人力招聘
人才理念
社会招聘
校园招聘
新媒体
图片
视频
展会
线上展会
首页
新闻中心
行业新闻
返回
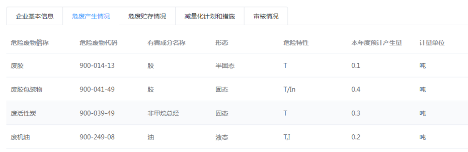
天富娱乐登录机器2022-2023年度危废信息公示
发布时间:2023-02-09
阅读量:1262
一、2022危废产生及转移情况
二、2023年危废计划产生及处置情况
上一条
下一条
相关新闻推荐
更多新闻
2018-01-18
住建部将针对绿色建筑、建筑节能、绿色建材等展开专项检查
天富娱乐登录机器近日了解到国家住建部为贯彻落实国家关于建筑节能和发展绿色建筑、装配式建筑的法律法规和政策,掌握各地2017年度建筑节能、绿色建筑和装配式建筑工作任务完成情况…
阅读全文
2017-07-18
德研究团队发现新材料:“液态玻璃”或颠覆传统玻璃制备!
玻璃是一种重要的材料,具有优异的性能,广泛用于科学,工业和社会等领域中。但是,玻璃成型通常需要使用危险的氢氟酸进行湿法化学蚀刻,处理起来有一定的困难,这是玻璃的…
阅读全文
2016-11-29
以色列材料科技公司研发透明玻璃显示技术
以色列材料科技创业公司Gauzy开发出了同时可以把透明玻璃转化成电脑屏幕的新技术,该公司创新的技术核心是LCC (液晶控制),这项技术可以让用户用能量决定透视玻璃的光…
阅读全文
2018-04-27
新型涂层让智能玻璃无需电力
目前已经有节能的“智能玻璃”可以通过一些方式遮蔽来自太阳的热射线,从而减少运行空调系统的需要,但是,这样的系统仍然需要电力来运行。现在,来自澳大利亚皇家墨尔本理…
阅读全文